电子管

电子管

目录导航

内部结构

1.电子管的阴极

电子管电子管阴极是用来放射电子的部件, 分为氧化物阴极和碳化钍钨阴极。一般来说氧化物阴极是旁热式的, 它是利用专门的灯丝对涂有氧化钡等阴极体加热, 进行热电子放射。寿命一般在1000 ~ 3000 小时。碳化钍钨阴极一般都是直热式的,通过加热即可产生热电子放射, 所以它既是灯丝又是阴极。理论上碳化钍钨阴极比氧化物阴极寿命长得多, 一般在2000 ~ 10000 小时以上。大功率发射管应用最为广泛的是碳化钍钨阴极, 氧化物阴极一般在输出功率为1kW 以下的发射管中应用 。

近年来采用网状阴极的大功率发射管较多。网状阴极是用较细的钍钨丝做成圆筒状, 其优点是:

1)由于它用很多根钍钨丝编成, 所以导流系数较大。

2)易于实现较小的阴栅间距, 有利于提高跨导。

3)由于灯丝是网状结构, 单根灯丝的电流较小, 局部磁

场较弱, 从而阴极电流所产生的交流声也较小。

2.电子管的栅极

电子管的栅极根据它们在管中所起的作用不同分为一栅、二栅, 有时也称为控制栅、帘栅。第一栅的主要作用是控制阴极电流, 二栅的作用是屏蔽板极对第一栅的影响。栅极结构关系到本身的机械强度和散热效果, 关系到管子可否稳定工作。为了减小电子的渡越时间, 栅阴间距作的很短甚至不到1mm , 因此厂商多采用机械强度高、导热系数高、辐射系数好以及熔点高的材料来做栅极, 以避免在很小的间距下发生热碰极。一栅和二栅应严格对栅, 这样帘栅对电子截获小, 可减小帘栅耗, 改善电流分配提高性线。

3.电子管的阳极

阳极是收集阴极发射出来的大部分电子的电极。电子管工作时, 由于电子管轰击板极表面, 以及其它电极的热辐射, 在板极产生大量热能, 因其板极的耗散功率密度是每平方厘米几十瓦到几百瓦, 这样大的功率密度采用自然辐射或传导的冷却已不能胜任。故须采用强制冷却方式。常用的有风冷、水冷和蒸发冷却等。

基本单位

电子管电子管(3)1.灯丝电压:V;

2.灯丝电流:mA;

3.阳极电压:V;

4.阳极电流:mA;

5.栅极电压:V;

6.栅极电流:mA;

7.阴极接入电阻:Ω;

8.输出功率:W;

9.跨导:mA/v;

10.内阻: kΩ。 

发明经过

电流与电子流动

电子管电子管  真空管当然不是无缘无故做几片金属板封装在抽真空的玻璃瓶里进行实验的,它的发展与发明大王爱迪生有着一段故事。

电流与电子流动的方向恰巧相反

在此之前试问一个小问题:电路分析上“电流”的方向与实际上“电子”流动的方向是否相同?答案是否定的,电流与电子流的方向是恰巧相反的。过去的科学家无法观察电子流动的方向,于是统一说法,将电池的某一极设定为正极,其电压为正电压,电流由正极流至负极而形成一个封闭的回路。由于大家统一说法与作法,因此多年来并没有发生任何冲突之事,直到了近代科学家有了更精良的设备,观察之后遂推翻了之前的说法:“原来电子是由电池的负端流出来的”!(换言之,电子是从扩大机的喇叭负端流出,而从喇叭正端回流的)

爱迪生效应

身为使用者并不需要在意何者为真,只要按照科学家的结论行事就可以了。说这一段就是因为当初 爱迪生发明灯泡之后,发现他生产的灯泡灯丝老是从正极端烧断,于是进一步实验在灯泡中加入一块小金属板,点灯之后将金属板连接电表,分别施以正电压以及负电压,观察电流的情形。 真空管真空管对于当时的科学而言,位于真空状态下且不连接的金属板,不论如何连接是不可能产生电流的,但怪事发生了,爱迪生发现某种物质(其实就是电子)会透过金属板,会从电池的负极腾空“跳”到正极,此发现当然激起更大的实验动机,此现象便称为“ 爱迪生效应”。这也是科学家首次质疑电流流动的方向,以及自由电子在空间中流动的现象。

真空管的诞生

金属之所以能导电,就是因为金属的自由电子较多,便于电子的相互流动,因此电子材料必须由导电性佳的 真空管真空管材质制成。电子还有个特性,带负电的电子容易受到正电压的吸引,所谓同性相斥、异性

相吸。又从爱迪生效应中得知,当加热金属物质时,活跃于质子外围的自由电子容易产生游离现象,温度高导致电子活性增强,此时若空间中有一正电压强力吸引,游离的电子就会在空间中流动。基于这几个当时已被了解的知识,佛来明(J.A. Fleming)于1904年制造出第一支二极真空管, 德福雷斯特(De Forest Lee)将二极管加以改良,于1907年制造出第一支三极管,既然成功研发了三极管,真空管的应用开始实现,真空管的发展从此一日千里。三极管是最基本的真空管,二极管、三极管、五极管,从字面意义代表真空管内部基本“极”的数量。真空管拥有三个最基本的极,第一是“阴极”(Cathode,以K代表):阴极当然是阴性的,它是释放出电子流的地方,它可以是一块金属板或是灯丝本身,当灯丝加热金属板时,电子就会游离而出,散布在小小的真空玻璃瓶里。第二个极是“屏极”(Plate,以P代表),基本上它是真空管最外围的金属板,眼睛见到真空管最外层深灰色或黑色的金属板,通常就是屏极。屏极连接正电压,它负责吸引从阴极散发出来的电子(还记得吗?利用异性相吸的原理),作为电子游离旅行的终点。第三个极为“栅极”(Grid,以G代表),从构造看来,它犹如一圈圈的细线圈,就如同栅栏一般,固定在阴极与屏极之间,电子流必须通过栅极而到屏极,在栅极之间通电压,可以控制电子的流量,它的作用就如同一个水龙头一般,具有流通与阻挡的功能。

真空管光有三个极当然还不算完美,也因此后来的真空管不断改进,在结构上也有了许多的改进之道,以配合不同的放大方式(如超线性接法等),但该部份的内容已经脱离本文,暂不详述。

发展历史

1883年,发明大王托马斯·爱迪生正在为寻找电灯泡最佳灯丝材料,曾做过一个小小的实验。他在真空电灯泡内部碳丝附近安装了一小截铜丝,希望铜丝能阻止碳丝蒸发。但是他失败了,他无意中发现,没有连接在电路里的铜丝,却因接收到碳丝发射的热电子产生了微弱的电流。当时爱迪生正潜心研究城市电力系统,没重视这个现象。但他为这一发现申请了专利,并命名为“爱迪生效应”。

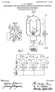
1904年,世界上第一只电子二极管在英国物理学家弗莱明的手下诞生了,这使爱迪生效应具有了实用价值。弗莱明也为此获得了这项发明的专利权。

1906年,美国发明家德福雷斯特(De Forest Lee),在二极管的灯丝和板极之间巧妙地加了一个栅板,从而发明了第一只真空三极管.

1947年,美国物理学家肖克利、巴丁和布拉顿三人合作发明了晶体管——一种三个支点的半导体固体元件.

1904年,世界上第一只电子管在英国物理学家弗莱明的手下诞生了。弗莱明为此获得了这项发明的专利权。人类第一只电子管的诞生,标志着世界从此进入了电子时代。世界上第一台计算机用1.8万只电子管,占地170m*2,重30t,耗电150kW。

说起电子管的发明,我们首先得从“爱迪生效应”谈起。爱迪生这位举世闻名的大发明家,在研究白炽灯的寿命时,在灯泡的碳丝附近焊上一小块金属片。结果,他发现了一个奇怪的现象:金属片虽然没有与灯丝接触,但如果在它们之间加上电压,灯丝就会产生一股电流,趋向附近的金属片。这股神秘的电流是从哪里来的?爱迪生也无法解释,但他不失时机地将这一发明注册了专利,并称之为“爱迪生效应”。后来,有人证明电流的产生是因为炽热的金属能向周围发射电子造成的。但最先预见到这一效应具有实用价值的,则是英国物理学家和电气工程师弗莱明。

弗莱明的二极管是一项崭新的发明.它在实验室中工作得非常好.可是,不知为什么,它在实际用于检波器上却很不成功,还不如同时发明的矿石检波器可靠.因此,对当时无线电的发展没有产生什么冲击.

此后不久,贫困潦倒的美国发明家德福雷斯特,在二极管的灯丝和板极之间巧妙地加了一个栅板,从而发明了第一只真空三极管.这一小小的改动,竟带来了意想不到的结果.它不仅反应更为灵敏、能够发出音乐或声音的振动,而且,集检波、放大和振荡三种功能于一体.因此,许多人都将三极管的发明看作电子工业真正的诞生起点.德福雷斯特自己也非常惊喜,认为“我发现了一个看不见的空中帝国”.电子管的问世,推动了无线电电子学的蓬勃发展.到1960年前后,西方国家的无线电工业年产10亿只无线电电子管.电子管除应用于电话放大器、海上和空中通讯外,也广泛渗透到家庭娱乐领域,将新闻、教育节目、文艺和音乐播送到千家万户.就连飞机、雷达、火箭的发明和进一步发展,也有电子管的一臂之力.

三条腿的魔术师电子管在电子学研究中曾是得心应手的工具.电子管器件历时40余年一直在电子技术领域里占据统治地位.但是,不可否认,电子管十分笨重,能耗大、寿命短、噪声大,制造工艺也十分复杂.因此,电子管问世不久,人们就在努力寻找新的电子器件.第二次世界大战中,电子管的缺点更加暴露无遗.在雷达工作频段上使用的普通的电子管,效果极不稳定.移动式的军用器械和设备上使用的电子管更加笨拙,易出故障.因此,电子管本身固有的弱点和迫切的战时需要,都促使许多科研单位和广大科学家,集中精力,迅速研制成功能取代电子管的固体元器件.

电子管的替代产品叫晶体管。

随着科技的发展,人们对生产的机械在体积上向体积越来越小的方向发展,由于电子管的体积大,而且在移动过程中容易损坏,越来越多的表现出其的弊端,于是人们开始寻找和开发电子管的可替代产品.随着后来的晶体管的出现,已越来越多的机械不再使用电子管.晶体管的出现是人类在电子方面一个大的飞跃.

早在30年代,人们已经尝试着制造固体电子元件.但是,当时人们多数是直接用模仿制造真空三极管的方法来制造固体三极管.因此这些尝试毫无例外都失败了.

分类介绍

直热式

灯丝(Filament)可以使用不同的材质制成,由于直热式三极管直接将灯丝当作阴极,因此灯丝的特性直接影响着直热式真空管的性能。基本上,真空管的灯丝主要可分成三种材质构成,第一 真空管真空管种当然是耐高温的钨丝。将纯度高的钨丝抽成细丝,卷绕成状在真空管的最内层,通电之后即可发出温度。但钨丝必须加温到两千余度时,电子才能发散,因此以钨丝制成灯丝的真空管点燃时,会发出光辉耀眼的亮度,同时温度高得吓人。别意外,不是真空管要烧掉了,而是它本如此!但将钨丝点亮需要消耗较大的电力,唯一的优点是钨丝甚为耐用,普遍运用于较大功率或长寿命的真空管上。笔者经常听到人说:“那支真空管点起来那么亮,一定两三下就挂点了”。其实并不然,在某些情况下这种真空管的寿命可达数万小时,拿来当作家里的灯泡,既耐用又有装饰的作用,一举数得!

另一种灯丝采用钍钨合金,它只需将灯丝加温至千余度即可工作,相较之下较省电力。最常使用的应为氧化碱土灯丝,它的作法是在灯丝外,涂上一层厚厚的氧化碱土,看起来接近白灰色的物质,它只需要加温至约700度(看起来约暗红色),即可获得足量的电子,因此工作温度最低、也最节省电力,一般而言只须供应6.3V左右的直流,就可以正常工作。

直热式真空管当然有它天生的优点,但却有一个致命的缺点,那就是阴极容易受到灯丝的温度而改变特性。当灯丝电压变动时,或以交流电供应灯丝时,阴极呈现在不稳定的状态下。因此有人主张直热式真空管应采用直流供电,也有人强调必须以交流供电以免损伤阴极,这种争论过去在音响界早已成为一个争论不休的话题。笔者无意在此引起话题,反正各方坚持各有道理,只要听起来没问题,管子耐用好听就行了。如果您有研究上的心得,笔者相当乐于接受。

傍热式

傍热式真空管的稳定度较高

为了解决直热式真空管的灯丝问题,真空管设计者决定让灯丝与阴极分家独立,在灯丝的旁边套上一圈金属套筒,让灯丝直接对金属板加热,电子从金属板散发出来,这种加热方式就称为“傍热式真空管”。

进一步发展

如此,真空管似乎就稳定许多了,由于金属套筒的体积与储热量远大于传统的灯丝,因此即使灯丝暂时的温度变动,甚至暂时几秒钟的停止加热,金属板的温度变化也有限,这也就是为什么某些扩大机关机之后,它还能唱个十几秒钟的主要原因。既然阴极与灯丝独立,阴极板必须由灯丝间接加热,于是灯丝再度改成钨丝材质,以求耐久性,并在钨丝外层涂上一层白磁,一方面绝缘,另一方面也有定型的效果。由于间接加热效果较差,阴极金属板上会涂上钍、钡或其他有利于电子发散的物质。也因此,真空管的金属极板看起来总是灰黑色,不像正常的金属板,也由于制作组装时必须仰赖手工,因此金属板上总会留下许多细小的 刮痕,用家购买真空管时不必意外担心。

真空管差异

直热式真空管与傍热式真空管使用上的差异,对于一般使用者而言是不必在乎直热式真空管与傍热式真空管的不同,但对于设计者而言,傍热式真空管由于间接加热的关系,灯丝电流通常较大,而且傍热式的结构必须对阴极金属板加温,因此开机后有一段缓慢的加温期,如果是前级,则必须做好延迟设计,以免开机的脉冲伤了后级。

依据发展的过程来看,最早的真空管当然是直热式的设计,二极管是首先被发展出来的,二极管的功能犹如现在的二极体,具有整流以及收音机内部检波的功能,二极管经过适当的设计,也可以成为稳压管,作用如现在的济纳二极体(Zener Diode)。由于真空管的动作原理很简单,因此第一支真空管被成功的制造出来之后,就有许多科学家加入研发的工作。第一支三极管在1907年被一位美国科学家成功制造,从此便开启了无线电时代的来临,告别留声机,进入扩大机时代。

结构特点

真空管真空管真空管具有发射电子的 阴极(K)和工作时通常加上高压的 阳极或称屏极(P)。灯丝(F)是一种极细的金属丝,而电流通过其中,使金属丝产生光和热,而去激发阴极来放射电子。栅极(G)它一定置于阴极与屏极之间。栅极加电压是抑制电子通过栅极的量,所以能够在阴极和阳极之间对电流起到控制作用。

为保持管内的真空状态,真空管中设有一物件,称为除气剂。一般由钡、铝、镁等活泼金属合金制成。在抽出管中空气后,将管中各元件及除气剂加热至红热,这样就可以吸收管内电极所含之气体。利用一围绕管子之 高频电磁场而使除气剂迅速升华,除气剂就吸收管子中的气体。在反应过后,玻璃管内壁积存银色的除气剂披覆层。若把管体的玻璃管打破或漏气时,玻璃管内壁积存银色的除气剂便会退色,同时也表示该真空管不能被使用。

工作原理

现在,我们更进一步来看看最简单的真空管工作原理。 整理一下刚刚所述,真空管具有几个极,由最内层到最外层分别为:灯丝,阴极,栅极,屏极。将一支真空管拆开之后,绘于附图之中,从图可知,当点亮灯丝,灯丝温度逐渐升高,虽然是真空状态,但灯丝温度以辐射热的方式传导至阴极金属板上,等到阴极金属板温度达到电子游离的温度时,电子就会从金属板飞奔而 真空管真空管出。此时在电子是带负电的,在屏极加上正电压,电子就会受到吸引而朝屏极金属板飞过去,穿过栅极而形成一电子流。刚刚说到栅极犹如一个开关,当栅极不带电时,电子流会稳定的穿过栅极到达屏极,当在栅极上加入正电压,对于电子是吸引作用,可以增强电子流动的速度与动力;反之在栅极上加入负电压,同性相斥的原理电子必须绕道才能到达屏极,若栅极的结构庞大,则电子流有可能全数被阻隔。

利用栅极可以轻易控制电子流的流量,将输入讯号连接在栅极上,并且加入适当的偏压,并且在屏极串上一个电阻,藉此即可达到讯号放大的目的。真空管也与电晶体一样,具有多种放大组态(事实上,电晶体的放大组态是从真空管延伸过来的应用),结合不同的电子材料如电阻、电感、变压器以及电容等,就可以创造出千变万化的电子产品。别忘了,第一部电脑可是使用真空管制成的,当然,它只能做简单的加减运算。 至此,真空管的基本工作原理已经报告完毕,还缺少了什么?请观察一下真空管的管壁内部,有一块类似水银的薄膜黏附在玻璃壁上,这是延长真空管寿命的设计。除了极少部份低压真空管外(并非指工作电压低,而是指真空管内部存在低压气体),大部分的真空管必须抽真空才能正常工作。真空管的接脚为金属脚,虽然以玻璃封装,但玻璃与金属接脚之间仍然有漏气的机会。玻璃管内的金属蒸镀物(即消气剂),会与气体进行作用,它存在的目的就在于吸收气体,以维持真空管内部的真空度。这一层薄薄的金属物氧化之后,会变成白色,表示真空管已经漏气不行了,所以若打破真空管时,这一层蒸镀物质也会变成白色。因此购买老真空管时,也要注意蒸镀物的情况,像水银一样的为佳,若开始苍白、剥落时,就表示这支真空管已经迈入老年了。

使用300B真空管的用家一定有一个经验,将扩大机电源打开,室内灯光熄灭,此时300B的灯丝会发出昏黄的光线,同时在真空管的顶端,有时候会出现像极光一样的神秘蓝光。蓝光看起来是绵细的、柔软的,略带一些神秘。它像极光一样,有时会扭曲飘动,似有若无的在真空管内发亮。第一次见到蓝光的人不免对它 真空管真空管产生好奇,有人说它无所谓,也有人说它是不正常的现象,基本上蓝光的产生基于几个因素。1.内部有低压气体。2.真空管设计或制造不良。3.屏极电压过高。

蓝光的主要来源仍然是电子,当屏极的设计包覆不良,无法吸引电子流吸附在屏极金属板上,就会让电子到处流窜,真空管见到的蓝光就是电子在真空管内流窜的结果。蓝光看起来美丽,却有可能产生辐射,不过笔者并不确定是否对人体有伤害。蓝光的出现也与真空管厂牌有极大的关系,大陆管以及苏联管Sovtek出现蓝光的机会大于其他,而我自己使用的三部300B扩大机,使用四支大陆管与两支WE300B,只有大陆管会发出蓝光,久了也就视为正常了。

1916年为有线电话用途制作的三极管,它是构造最简单的直热式三极管,一根发亮的灯丝,如栅栏状的栅极介于灯丝与屏极之间,而屏极位于最下方,就是一块金属片。

各种分类

依加热方式

真空管可被分为2大类别,分别是直热式和旁热式。

直热式真空管是较早诞生的。它有一个致命的缺点,就是阴极容易受到灯丝的温度而改变特性。当灯丝电压变动时,或以交流电供应灯丝时,阴极呈现在不稳定的状态下。

旁热式真空管作工相对较稳定。由于金属套筒的体积与储热量远远大于传统的灯丝,因此即使灯丝暂时的温度变动,甚至暂时几秒钟的停止加热,金属板的温度变化改变有限,这也就是为什么某些扩大机关机之后,它还能唱十多秒的主要原因,是因为电源供应部分有大容量电容器内部余电未放完。

依容器结构分类

大部份市售的真空管,其管壁为 玻璃制。而军用等特殊型式则为金属制。

依结构及用途区分

真空管可被分为 二极管、 三极管、 四极管、四极管束射管、 五极管及复合管等很多种类别。依用途区分及常见的型号:

真空管真空管

整流用二极管:12F、81、35W4、25M-K15、5MK9

整流用双二极管:80、5Z3、5AR4、5U4、6X4、5Y3、83、82

検波用二极管:6AL5、EAA91、6H6

调谐指示管:6E5、EM80

电圧放大用三极管:6C4

电圧放大用双三极管:12AX7、12AU7、12AT7、12BH7A、6DJ8、6SN7

功率放大用三极管:45、WE300B、2A3、211、845、8045G

功率放大用双三极管:6336A、6080

功率放大用集射四极管:UY-807、KT88、6L6、6V6

电圧放大用五极管:6AU6、6BA6、6BD6、6267、6SJ7

功率放大用五极管:6F6、6CA7、6BQ5、6550、6AR5、42、30A5、50C5

变频用七极管:6SA7、6BE6

发射用三极管:3-500Z、3-1000Z

发射用四极管:4CX250B

发射用五极管:6146B、S2001A

旁热式双三极小信号管:6922、ECC88、6DJ8

直热式三极功率管

相关百科
返回顶部
产品求购 求购